En plus de Google, on apprend aujourd’hui que Sony serait également sur le coup avec des lunettes intelligentes.
On connaît les Google Glass mais il faudra peut être bientôt compter sur des Sony Glass puisqu’il semblerait que Sony travaille sur des lunettes qui auraient la particularité d’avoir deux écrans sur les deux verres (brevet déposé en 2008) alors que les Google Glass ne proposent pour le moment qu’un seul écran.
Encore au stade de projet, il se pourrait bien que Sony se décide, un jour prochain, à venir concurrencer Google sur ce marché en développement des lunettes connectées. En plus de prévoir deux écrans sur ses montures, Sony s’éloigne un peu plus du Project Glass par l’installation de deux écouteurs qui seraient situés à chaque extrémité des branches.
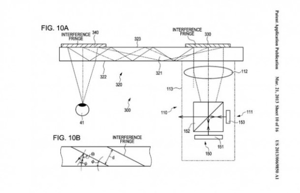
Avec deux écrans, il reste néanmoins le souci de la position des deux écrans. Google aussi doit faire face à ce petit souci et le géant du web aurait réfléchi à l’installation d’un système d’actionneurs mécaniques qui grâce à deux lasers permettraient de recadrer et corriger la déformation pour assurer une parfaite régularité avec le positionnement des yeux de l’utilisateur. Bien sûr, ce modèle de Google Glass n’est pas encore disponible, et c’est bien pourquoi le modèle actuel est nommé «Project Glass».
Pour en revenir aux lunettes de Sony, l’interface de celles-ci serait en 2D et il serait également capable d’y faire de la 3D. Google et Sony ne doivent sûrement pas être les seuls à cibler ce marché des lunettes intelligentes et d’autres constructeurs sont certainement déjà en train de s’en inspirer et même d’élaborer leurs propres solutions. On est en tout cas impatient de voir ce que ça pourrait donner.
Via Techcrunch.

