Amazon envisage de téléguider ses employés avec des lunettes de réalité augmentée dans ses entrepôts, afin qu’ils sachent où aller et comment de manière la plus optimisée possible. Tout est bon pour améliorer la productivité de ses salariés pour la société, mais qui est une nouvelle fois accusée de vouloir espionner ses employés.

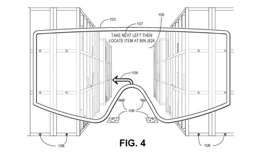
Comme le rapporte Gizmodo, Amazon a déposé un brevet pour des lunettes de réalité augmentée à destination de ses employés. Celles-ci serviraient à les aider à s’orienter dans les gigantesques entrepôts de la société. Une interface s’afficherait et indiquerait aux salariés où il doit se rendre et comment. Un moyen d’optimiser les trajets et de gagner du temps. Et s’il y a bien une entreprise qui a compris que, comme le veut l’adage, « le temps c’est de l’argent », c’est certainement Amazon.
Amazon : des lunettes de réalité augmentée pour améliorer la productivité des employés
Problème, ces outils pourraient constituer une atteinte grave à la vie privée. Amazon aurait ainsi la possibilité de collecter des données telles que la vitesse de marche, la localisation exacte ou encore la direction vers laquelle regarde chaque employé portant ces lunettes. On peut déjà imaginer des abus avec des remontrances voire des licenciements de salariés basés sur leur rapidité à se déplacer.
Ce n’est pas la première fois que le groupe dépose un brevet pour un appareil à la même finalité. Nous vous parlions d’ailleurs en février 2018 d’un bracelet connecté servant à surveiller les salariés d’Amazon. Celui-ci permet d’identifier « les mouvements des mains d’un employé […] pour surveiller la réalisation des tâches assignées ». Amazon s’était alors défendu en parlant de « scanners à main pour faire l’inventaire et préparer les commandes » qui seraient placés « sur le poignet des employés leur permettant d’avoir les mains libres et ne pas avoir les yeux rivés sur des écrans ».