Plusieurs rumeurs font état qu’Apple prépare ses propres lunettes connectées avec de la réalité augmentée. Apple a justement obtenu un brevet qui détaille certaines fonctionnalités.

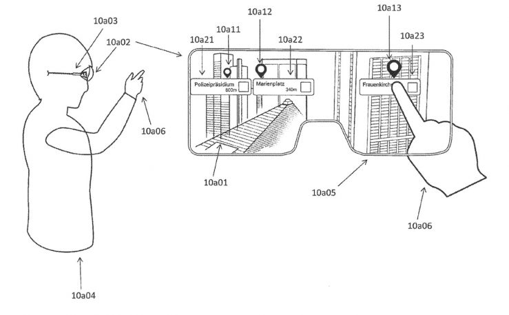
Le brevet contient des informations sur une méthode pour mettre en avant des points d’intérêt dans une vue d’un environnement réel depuis un appareil mobile. Le brevet inclut le schéma d’une personne avec ce qui semble être des lunettes connectées qui ont des informations affichées sur l’écran, dont le nom des bâtiments autour d’elle. Un autre dessin montre la possibilité d’avoir davantage de détails sur un bâtiment en particulier depuis son iPhone.
Si les rumeurs sont bonnes, les lunettes connectées d’Apple verront le jour en 2020 ou en 2021. Tim Cook, le patron d’Apple, a déjà dit que la réalité augmentée était très importante pour Apple, c’est notamment pour cette raison qu’il y ARKit sur iPhone ou iPad pour créer des expériences en réalité virtuelle. À voir maintenant quels sont les projets pour des lunettes connectées ou un casque connecté parce que l’usage est différent d’un smartphone. Le grand public est-il prêt à porter ce type d’accessoire ? Les Google Glass ont été un échec d’un point de vue commercial il y a quelques années par exemple, bien que l’idée de base était bonne.